DIN 1804 Nutmuttern, w = ungehärtet, ungeschliffen

DIN 1804 Nutmuttern sind runde, ungehärtete, ungeschliffene Maschinenelemente mit vier Schlitzen (= Nut) zur axialen Sicherung von Welle-Nabe-Verbindungen, z.B. von Zahnrädern auf einer Welle. Sie haben einen großen Innen- aber kleinen Außendurchmesser. Das Innengewinde ist als metrisches Feingewinde ausgeführt. Feingewinde hat je Zentimeter mehr Gewindegänge. Die Schraubenverbindung hält somit fester, man benötigt aber auch mehr Umdrehungen zur Montage. Nutmuttern werden mit einem Hakenschlüssel, auch Nutmutternschlüssel genannt, montiert. mehr ...


Technische Maße für DIN 1804 Nutmuttern, w = ungehärtet, ungeschliffen

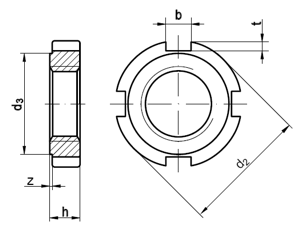
Legende:
Maße
= Durchmesser für metrisches Maß (M) (Nennmaß)
h
= Höhe-Gesamt
b
= Schlitz-Breite
t
= Schlitz-Tiefe
d2
= Durchmesser-Außen
z
= Höhe-Flansch
d3
= Durchmesser-Flansch

MaßeM 8 x 1M10 x 1M12 x 1,5M14 x 1,5M16 x 1,5M18 x 1,5M20 x 1,5M22 x 1,5M24 x 1,5M26 x 1,5M28 x 1,5M30 x 1,5
d2202528303234364042455050
d3162023252728303436384343
b455556666777
h566778899101010
t1,522222,52,52,52,5333
z0,50,50,50,50,50,50,50,50,50,50,50,5
Anzahl Nuten444444444444
MaßeM32 x 1,5M35 x 1,5M38 x 1,5M40 x 1,5M42 x 1,5M45 x 1,5M48 x 1,5M50 x 1,5M52 x 1,5M55 x 1,5M58 x 1,5M60 x 1,5
d2525558626268757580809090
d3454850545460676770708080
b7788888810101010
h111111121212131313131313
t333,53,53,53,53,53,54444
z0,50,50,50,50,50,50,50,50,50,50,50,5
Anzahl Nuten444446666666
MaßeM62 x 1,5M65 x 1,5M68 x 1,5M70 x 1,5M72 x 1,5M80 x 2M85 x 2M90 x 2M100 x 2M110 x 2M120 x 2 
d29595100100110115120130145155165 
d385859090100105110120130140150 
b1010101010101010121212 
h1414141414161616161618 
t44444444555 
z0,50,50,50,50,5111111 
Anzahl Nuten66666666666 

weitere Informationen

 

Kombination: Nutmuttern und Sicherungsbleche

Meist werden Nutnummern zusammen mit Sicherungsblechen mit einem oder zwei Lappen verwendet. Die Sicherungsbleche sollen das eigenständige Lösen der Nutmutter unterbinden.

Alle Angaben ohne Gewähr, Gewährleistung oder Haftung.


Version 3.24.4 - Servername: WEBAPP12


 
 Warenkorb
Zur Kasse | Drucken
 
Ihr Warenkorb ist leer

DIN 912 Zylinderschrauben, mit Innensechskant

DIN 912 Zylinderschrauben, mit Innensechskant
 
Artikel-Nr. 2534-326
Werkstoff ROSTFREI A2
Norm DIN 912
Abmessung M 4 x 20

Art. Spanplattenschrauben, Innensechsrund (TX), Senkkopf, Teilgewinde, Importware

Art. Spanplattenschrauben, Innensechsrund (TX), Senkkopf, Teilgewinde, Importware
 
Artikel-Nr. 4289-009
Werkstoff ROSTFREI A4
Norm Art. 81938
Abmessung 5 x 110 TX

DIN 434 Scheiben für U-Träger, vierkant, keilförmig 8 %

DIN 434 Scheiben für U-Träger, vierkant, keilförmig 8 %
 
Artikel-Nr. 3488-382
Werkstoff ROSTFREI A2
Norm DIN 434
Abmessung 24
Unsere App - jetzt online!
NEU im Sortiment: Zusätzlich über 15.000 neue Kleinmengen
Zertifizierung

Kundenbewertungen (2.300)
So entstehen unsere Kundenbewertungen

Unsere Kundenbewertungen einschließlich der Sternebewertungen können nur nach Bestellabschluss erstellt werden.

Dadurch ist sichergestellt, dass unser Bestellprozess, unser Service sowie unsere Produkte von echten Kunden bewertet werden, die ihre Erfahrungen mit ihnen teilen möchten.


"Alles gut, bis auf die Mindestmengen bei einigen Produkten. Eine Mindestmenge von 100 Stück veranlasst mich, diesen Artikel woanders zu besorgen. Eine Mindestmenge von 10 Stück finde ich besser."
-

"Ich kaufe nun schon sehr lange bei Schrauben Wegertseder ein. Die Lieferung war immer sehr schnell und die Ware war wie beschrieben in hervorragender Qualität."
- Hartmund Lawrenz

"Anmerkung zur letzten Frage: bereits mehrfach weiterempfohlen"
-

"macht so weiter"
-

"vielen Dank für die gute Telefonische Unterstützung!"
-

Unsere Cookie-Richtlinien

Wir nutzen Cookies, um unsere Seite für Sie bestmöglich zu gestalten und dauerhaft zu verbessern. Weitere Informationen erhalten Sie in unserer Datenschutzerklärung. Ohne Ihre Zustimmung werden nur technisch notwendige Cookies verwendet.
AKZEPTIEREN
ABLEHNEN