Übersicht über alle DIN-Produkte

DIN 125 A Unterlegscheiben Form A, bei Stahl Klasse 140 HV
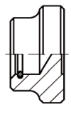
DIN 912 Zylinderschrauben, mit Innensechskant
DIN 931 Sechskantschrauben mit Schaft
DIN 933 Sechskantschrauben, Gewinde bis Kopf
DIN 934 Sechskantmuttern
DIN 976 Gewindestangen, Länge 1000 mm
DIN 980 Sechskantmuttern, Klemmteil Metall, V=Ganzmetallmutter, einteilig
DIN 985 Sechskantmuttern, Polyamidklemmteil, niedrige Form
DIN 9021 Scheiben großer Außendurchmesser = 3x Schraubendurchmesser


Version 3.24.2 - Servername: WEBAPP11


 
 Warenkorb
Zur Kasse | Drucken
 
Ihr Warenkorb ist leer

DIN 912 Zylinderschrauben, mit Innensechskant

DIN 912 Zylinderschrauben, mit Innensechskant
 
Artikel-Nr. 2524-079
Werkstoff STAHL 8.8 - verzinkt
Norm DIN 912
Abmessung M 6 x 25

ISO 7380 Flachkopfschrauben mit Innensechsrund (TX)

ISO 7380 Flachkopfschrauben mit Innensechsrund (TX)
 
Artikel-Nr. 4251-036
Werkstoff ROSTFREI A4
Norm ISO 7380TX
Abmessung M 3 x 45 TX
Hier finden Sie das zuletzt angesehene Produkt
Unsere App - jetzt online!
NEU im Sortiment: Zusätzlich über 15.000 neue Kleinmengen
Zertifizierung

Kundenbewertungen (2.152)
So entstehen unsere Kundenbewertungen

Unsere Kundenbewertungen einschließlich der Sternebewertungen können nur nach Bestellabschluss erstellt werden.

Dadurch ist sichergestellt, dass unser Bestellprozess, unser Service sowie unsere Produkte von echten Kunden bewertet werden, die ihre Erfahrungen mit ihnen teilen möchten.


"TOP weiter so * * * * *"
- Uwe Krippner

"ch bestelle hier schon seit Jahren und wurde noch nie enttäuscht. Die Qualität der Produkte ist durchweg hervorragend, der Versand zuverlässig und der Kundenservice freundlich und kompetent. Ein Shop, dem ich voll und ganz vertraue!"
-

"immer sehr gute Erklärung/Info, denn ich habe keinerlei technische Ausbildung, nur Hobby/Landwirtschaft"
- Friedrich Rauchenwald

"gern wieder"
- Sven Wallasch

"Leider sind nicht alle Dinge im Onlineshop bestellbar"
- Stefan Wilhelm

Unsere Cookie-Richtlinien

Wir nutzen Cookies, um unsere Seite für Sie bestmöglich zu gestalten und dauerhaft zu verbessern. Weitere Informationen erhalten Sie in unserer Datenschutzerklärung. Ohne Ihre Zustimmung werden nur technisch notwendige Cookies verwendet.
AKZEPTIEREN
ABLEHNEN