DIN 3567 Rohrschellen-Hälften

Rohrschellen-Hälften sind gebotene Metallplatten, die an den Seiten mit einer Bohrung versehen sind. Über die Bohrung werden die Hälften mit einer Schraube und Mutter verschraubt. Der Vorteil dieser Rohrschellen-Hälften ist, dass man sie halbieren kann. Damit können diese Schellen auch an bereits montierten Werkstücken angebracht werden, um z. B. weitere Gegenstände daran zu befestigen. mehr ...


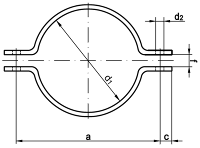
Technische Maße für DIN 3567 Rohrschellen-Hälften

Legende:
Maße (d1)
= Durchmesser-Schellen
d2
= Durchmesser-Bohrung
a
= Abstand-Bohrung
f
= Abstand-Schellen
c
= Abstand-Bohrung/Außenkontur

Maße (d1)222734434549576177
Nennweite1520 / 3/4"25 / 1"32 / 1/4"4040 / 1/2"5050 / 2"65 / 2 1/2"
a596672828488104108122
c151515151515181818
d211,511,511,511,511,511,5141414
f777777444
Flachstahl30x530x530x530x530x530x540x640x640x6
SchraubeM10x30M10x30M10x30M10x30M10x30M10x30M12x35M12x35M12x35
Maße (d1)89108115140169220273305 
Nennweite80 / 3"100100 / 4"125150200250300 
a136172178204232284348379 
c1824242424243030 
d21418181818182323 
f411111111111414 
Flachstahl40x650x850x850x850x850x860x860x8 
SchraubeM12x35M16x45M16x45M16x45M16x45M16x45M20x50M20x50 

weitere Informationen

 

Die Hälften sind gleichschenklich. Wir liefern diese in verschiedenen Werkstoffen. Dostfrei A5 ist hochsäurebeständiger Edestahl, der besonders im Außenbereich aber auch im maritimen Bereich, also salzhaltiger Luft und Salzwasser, eingesetzt werden kann. Daneben bieten wir diese DIN 3567 Rohrschellen-Hälften auch in grundiertem Stahl und Stahl mit Feuerverzinkung an.

Alle Angaben ohne Gewähr, Gewährleistung oder Haftung.


Version 3.24.2 - Servername: WEBAPP12


 
 Warenkorb
Zur Kasse | Drucken
 
Ihr Warenkorb ist leer

DIN 933 Sechskantschrauben, Gewinde bis Kopf

DIN 933 Sechskantschrauben, Gewinde bis Kopf
 
Artikel-Nr. 2748-059
Werkstoff STAHL 8.8 - verzinkt
Norm DIN 933
Abmessung M 6 x 20

DIN 7504 Bohrschrauben N mit Linsenkopf, Blechschraubengewinde PH-Kreuzschlitz für Weichmetalle (Spitze aus Edelstahl)

DIN 7504 Bohrschrauben N mit Linsenkopf, Blechschraubengewinde PH-Kreuzschlitz für Weichmetalle (Spitze aus Edelstahl)
 
Artikel-Nr. 4261-038
Werkstoff ROSTFREI A2
Norm DIN 7504N
Abmessung N 6,3 x 60 H

DIN 660 Halbrundniete

DIN 660 Halbrundniete
 
Werkstoff alle
Norm DIN 660
Abmessung 4
Unsere App - jetzt online!
NEU im Sortiment: Zusätzlich über 15.000 neue Kleinmengen
Zertifizierung

Kundenbewertungen (2.147)
So entstehen unsere Kundenbewertungen

Unsere Kundenbewertungen einschließlich der Sternebewertungen können nur nach Bestellabschluss erstellt werden.

Dadurch ist sichergestellt, dass unser Bestellprozess, unser Service sowie unsere Produkte von echten Kunden bewertet werden, die ihre Erfahrungen mit ihnen teilen möchten.


"es gibt keine z.B. Abstandshülsen Sehr gut sind die DIN/ISO Pdfs der Materialdaten "
- Matthias Zander

"Seit 35 Jahren zufriedener Kunde"
- Jürgen Haus

"Hallo, für unseren kleinen Betrieb ist soweit alles in Ordnung. Wir sind sicher kein großer, aber ein langjähriger Kunde. Bitte weiter so. Thomas H. "
-

"Meine erste Adresse!"
- Heiner Schnorrenberg

"vielen Dank für die gute Telefonische Unterstützung!"
-

Unsere Cookie-Richtlinien

Wir nutzen Cookies, um unsere Seite für Sie bestmöglich zu gestalten und dauerhaft zu verbessern. Weitere Informationen erhalten Sie in unserer Datenschutzerklärung. Ohne Ihre Zustimmung werden nur technisch notwendige Cookies verwendet.
AKZEPTIEREN
ABLEHNEN