DIN 432 Scheiben mit Außennase

DIN 432 Scheiben mit Außennase sind meist gestanzte runde Scheiben mit rundem Innenloch. Im Rand ist ein Stück, die Außennase, ausgestanzt und um 90 Grad aufgebogen. Diese Scheibe kann über die Außennase arretiert werden. mehr ...


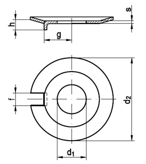
Technische Maße für DIN 432 Scheiben mit Außennase

Legende:
Maße
= Durchmesser-Innen (Nennmaß)
s
= Stärke (Blech)
d2
= Durchmesser-Außen
f
= Breite-Nase
h
= Höhe-Nase

Maße3,23,784,35,36,48,410,513151719212325
d21212141719222630333640425050
f2,52,52,53,53,53,54,54,54,55,56,56,57,57,5
g4,54,55,577,58,51012131518182021
h2222,53444,54,54,54,54,56,56,5
s0,40,40,40,750,75111,21,21,21,21,61,61,6
Maße283134374043465054586266  
d258636875828895100105112118125  
f8,58,59,51111111313131413,513,5  
g2325283123336384042454852  
h9,59,59,59,511111213131413,513,5  
s1,61,61,62222222,55,52,5  

weitere Informationen

 

Lieferbare Werkstoffe für DIN 432 Scheiben mit Außennase

Wir liefern diese DIN 432 Scheiben mit Außennase in den Werkstoffen Rostfrei A2 oder hochsäurebeständigem Rostfrei A4. Außerdem erhalten Sie diese Scheibe in Stahl blank oder Stahl verzinkt.

Alle Angaben ohne Gewähr, Gewährleistung oder Haftung.


Version 3.24.4 - Servername: WEBAPP12


 
 Warenkorb
Zur Kasse | Drucken
 
Ihr Warenkorb ist leer

DIN 127 Federringe Form B = glatt (=Standard)

DIN 127 Federringe Form B = glatt (=Standard)
 
Artikel-Nr. 1702-758
Werkstoff FEDERSTAHL - verzinkt
Norm DIN 127B
Abmessung B 8

ISO 14581 Senkschrauben mit Innensechsrund (TX)

ISO 14581 Senkschrauben mit Innensechsrund (TX)
 
Artikel-Nr. 4667-060
Werkstoff ROSTFREI A2
Norm ISO 14581
Abmessung M 6 x 95 TX

DIN 976 Gewindestangen, Länge 1000 mm

DIN 976 Gewindestangen, Länge 1000 mm
 
Artikel-Nr. 2212-922
Werkstoff ROSTFREI A4
Norm DIN 976
Abmessung M 27
Unsere App - jetzt online!
Die Wegertseder-App: Lagernde Artikel sofort im Blick durch Verfügbarkeits-Info
Zertifizierung

Kundenbewertungen (2.299)
So entstehen unsere Kundenbewertungen

Unsere Kundenbewertungen einschließlich der Sternebewertungen können nur nach Bestellabschluss erstellt werden.

Dadurch ist sichergestellt, dass unser Bestellprozess, unser Service sowie unsere Produkte von echten Kunden bewertet werden, die ihre Erfahrungen mit ihnen teilen möchten.


"Passt soweit alles."
-

"Alles gut, bitte weiter so!"
- Michael Klemm

"Es funktioniert einfach, im wahsten Sinne des Wortes - Vielen Dank dafür."
-

"weitermachen so."
- Richard Michl

"vielen Dank für die gute Telefonische Unterstützung!"
-

Unsere Cookie-Richtlinien

Wir nutzen Cookies, um unsere Seite für Sie bestmöglich zu gestalten und dauerhaft zu verbessern. Weitere Informationen erhalten Sie in unserer Datenschutzerklärung. Ohne Ihre Zustimmung werden nur technisch notwendige Cookies verwendet.
AKZEPTIEREN
ABLEHNEN