DIN 444 Augenschrauben

DIN 444 Augenschrauben sind Schrauben mit einer speziellen Kopfform, einem Auge. Nicht zu verwechseln sind Augenschrauben mit Ringschrauben, die einen anderen Anwendungsbereich haben. Augenschrauben werden dort eingesetzt, wo eine Last schnell gelöst werden muss. Durch das Auge wird ein Bolzen oder Seil montiert. Die Augenschraube wird an der Gewindeseite mit einer Mutter gesichert. Die Gewindelänge ist nicht genormt, wir bieten aber eigens eine Gruppe Augenschrauben an, die nur ein Vollgewinde haben. Es gilt der Grundsatz: je länger die Nennlänge der Augenschraube ist, desto wahrscheinlicher hat sie einen gewindelosen Schaft. mehr ...


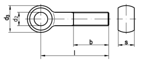
Technische Maße für DIN 444 Augenschrauben

Legende:
Maße
= Durchmesser metrisches Gewinde (M) (Nennmaß)
d3
= Durchmesser-Kopf
s
= Höhe-Kopf
b1 f.
= Länge-Gewinde
b2
= Länge-Gewinde
b3
= Länge-Gewinde
d2
= Auge-Innendurchmesser

MaßeM 5M 6M 8M 10M 12M 12M 16M 16
d25681012121616
d31214182025253232
s6791214141717
b1 f.1618222630303838
b2--283236364444
b3----49495757
a1114161823232727
MaßeM 20M 20M 24M 24M 30M 30  
d21818222227 / 2827 / 28  
d3404045455555  
s222225253030  
b1 f.454554546666  
b2525260607272  
b3656573738585  
a323240404646  

weitere Informationen

 

Arten und Werkstoffe bei DIN 444 Augenschrauben

Wir liefern Augenschrauben mit gewindelosem Schaft oder Vollgewinde. Bitte beachten Sie, dass das Vollgewinde nur bei den Augenschrauben mit Vollgewinde garantiert ist. Produktionstechnisch bedingt reicht das Vollgewinde aber auch nur bis auf wenige Millimeter unter den Augenkopf der Augenschraube. Als Werkstoff kommt normalerweise verzinkter Stahl oder rostfreier Stahl Edelstahl Rostfrei A2 oder A4 zum Einsatz. A4 eignet sich auch für den Einsatz in maritimer Witterung in der Nähe oder bei Kontakt mit Salzwasser und Säuren.

Alle Angaben ohne Gewähr, Gewährleistung oder Haftung.


Version 3.24.4 - Servername: WEBAPP12


 
 Warenkorb
Zur Kasse | Drucken
 
Ihr Warenkorb ist leer

DIN 912 Zylinderschrauben, mit Innensechskant

DIN 912 Zylinderschrauben, mit Innensechskant
 
Artikel-Nr. 2524-043
Werkstoff STAHL 8.8 - verzinkt
Norm DIN 912
Abmessung M 5 x 16

ISO 7380 Flachkopfschrauben mit Innensechsrund (TX)

ISO 7380 Flachkopfschrauben mit Innensechsrund (TX)
 
Artikel-Nr. 4251-032
Werkstoff ROSTFREI A4
Norm ISO 7380TX
Abmessung M 3 x 25 TX
Hier finden Sie das zuletzt angesehene Produkt
Unsere App - jetzt online!
NEU im Sortiment: Zusätzlich über 15.000 neue Kleinmengen
Zertifizierung

Kundenbewertungen (2.295)
So entstehen unsere Kundenbewertungen

Unsere Kundenbewertungen einschließlich der Sternebewertungen können nur nach Bestellabschluss erstellt werden.

Dadurch ist sichergestellt, dass unser Bestellprozess, unser Service sowie unsere Produkte von echten Kunden bewertet werden, die ihre Erfahrungen mit ihnen teilen möchten.


"Bin sehr zufrieden. Habe Euch auch schon weiterempfohlen."
-

"Wegertseder = Klasse Sortiment, übersichtlich, preiswert."
-

"Hervorragend!"
-

"Bestelle immer wieder gerne mei Ihnen"
-

"Bin seit Jahren Kunde bei Ihnen und war bisher immer zufrieden..."
- Wolfgang Kehl

Unsere Cookie-Richtlinien

Wir nutzen Cookies, um unsere Seite für Sie bestmöglich zu gestalten und dauerhaft zu verbessern. Weitere Informationen erhalten Sie in unserer Datenschutzerklärung. Ohne Ihre Zustimmung werden nur technisch notwendige Cookies verwendet.
AKZEPTIEREN
ABLEHNEN