DIN 471 Sicherungsringe für Wellen, Regelausführung

Die DIN 471 normiert Sicherungsringe, die als Maschinenelement zur axialen Lagesicherung von Bauteilen, beispielsweise Wälzlagern auf einer Welle oder Achse eingesetzt werden. Auch zur Lagesicherung von Bolzen in Bohrungen finden Sicherungsringe gemäß DIN 471 Verwendung. Die DIN 471 bezieht sich dabei nur auf Sicherungsringe für Wellennuten. Der Sicherungsring gemäß DIN 471 ist als flacher Ring gestanzt und anschließend geschliffen. Zwei Lochungen ermöglichen die Montage oder Demontage mittels einer Sicherungsringzange. mehr ...


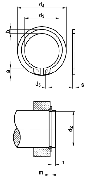
Technische Maße für DIN 471 Sicherungsringe für Wellen, Regelausführung

Legende:
s
= Stärke (Blech)
d3
= Durchmesser-Innen im ungespannten Zustand
a
= radiale Breite des Auges
b
= radiale Breite des Rings gegenüber der Öffnung
d5
= Durchmesser-Innen der Montagelöcher
d2
= Nutdurchmesser der Welle
m
= Nutbreite der Welle
n
= Bundbreite der Welle
Maße
= Durchmesser-Welle (Nennmaß)
d4
= Durchmesser (achszentrisch) für Einbauraum

Maße3456789101112131415
s0,40,40,60,70,80,81111111
d32,73,74,785,66,57,48,49,310,21111,912,913,8
a1,92,22,52,73,13,23,33,33,33,33,43,53,6
b0,80,91,11,31,41,51,71,81,81,822,12,2
d51111,21,21,21,21,51,51,71,71,71,7
d22,83,84,85,76,77,68,69,610,511,512,413,414,3
m0,50,50,70,80,90,91,11,11,11,11,11,11,1
n0,30,30,30,50,50,60,60,60,80,80,90,91,1
d478,610,311,713,514,71617181920,221,422,6
Maße16171819202122232425262728
s111,21,21,21,21,21,21,21,21,21,21,5
d314,715,716,517,518,519,520,521,522,223,224,224,925,9
a3,73,83,93,944,14,24,34,44,44,54,64,7
b2,22,32,42,52,62,72,82,9333,13,13,2
d51,71,722222222222
d215,216,217181920212222,923,924,925,626,6
m1,11,11,31,31,31,31,31,31,31,31,31,31,6
n1,21,21,51,51,51,51,51,51,71,71,72,12,1
d423,82526,227,228,429,630,833,234,235,537,9
Maße29303132333435363738394041
s1,51,51,51,51,51,51,51,751,751,751,751,751,75
d326,927,928,629,630,531,532,233,234,235,23636,537,5
a4,855,15,25,25,45,65,65,75,85,966,2
b3,43,53,53,63,73,83,944,14,24,34,44,5
d5222,52,52,52,52,52,52,52,52,52,52,5
d227,628,629,330,331,332,3333435363737,538,5
m1,61,61,61,61,61,61,61,851,851,851,851,851,85
n2,12,12,62,62,62,6333333,83,8
d439,140,54345,446,847,850,252,6
Maße42444546474850525455565758
s1,751,751,751,751,751,752222222
d338,540,541,542,543,544,545,847,849,850,851,852,853,8
a6,56,66,76,746,86,96,977,17,27,37,37,3
b4,54,64,74,84,955,15,25,35,45,55,55,6
d52,52,52,52,52,52,52,52,52,52,52,52,52,5
d239,541,542,543,544,545,547495152535455
m1,851,851,851,851,851,852,152,152,152,152,152,152,15
n3,83,83,83,83,83,84,54,54,54,54,54,54,5
d455,759,162,564,566,770,271,673,6
Maße60626365676870727577788082
s2222,52,52,52,52,52,52,52,52,52,5
d355,857,858,860,862,563,565,567,570,572,573,574,576,5
a7,47,57,67,87,988,18,28,48,58,68,68,7
b5,866,26,36,46,56,66,877,27,37,47,6
d52,52,52,53333333333
d2575960626465676972747576,578,5
m2,152,152,152,652,652,652,652,652,652,652,652,652,65
n4,54,54,54,54,54,54,54,54,54,54,55,35,3
d475,677,87981,484,88789,292,796,198,1100,3
Maße8587889092959798100102105107 
s333333333444 
d379,581,582,584,586,589,591,591,594,59598100 
a8,78,88,88,899,49,49,49,69,79,910 
b7,87,988,28,48,68,88,899,29,39,5 
d53,53,53,53,53,53,53,53,53,53,53,53,5 
d281,583,584,586,588,591,593,594,596,598101103 
m3,153,153,153,153,153,153,153,153,154,154,154,15 
n5,35,35,35,35,35,35,35,35,3666 
d4103,3106,5108,5120,2125,8 

weitere Informationen

 

Anwendungsbereiche von Sicherungsringen gemäß DIN 471

Immer dann, wenn Bauteile in axialer Richtung auf einer Welle fixiert werden sollen, kommen Sicherungsringe nach DIN 471 zum Einsatz. Dabei steht ein Teil des Sicherungsringes aus der Nut, in der er eingeführt wird, heraus und bildet so eine axial belastbare Schulter. Da Sicherungsringe auf Biegung beansprucht werden und als Folge der Belastung eine hohe Kerbwirkung auftritt, werden Sicherungsringe in der Regel aus Federstahl gefertigt. Für besondere Anforderungen in korrosionsgefährdeten Umgebungen stehen alternativ Sicherungsringe aus rostfreiem Edelstahl zur Verfügung. Sicherungsringe sollte wegen der Kerbwirkung ausschließlich an den biegungsfreien Enden von Wellen, Achsen oder Bolzen eingesetzt werden.

 

Unsere Produkte gemäß DIN 471

In unserem Shop finden Sie Sicherungsringe für Wellen gemäß DIN 471 in Regelausführung. Als Werkstoff können Sie zwischen Federstahl, verzinktem Federstahl und rostfreiem Edelstahl (Werkstoffnummer 1.4122) wählen.

Alle Angaben ohne Gewähr, Gewährleistung oder Haftung.


Version 3.24.4 - Servername: WEBAPP12


 
 Warenkorb
Zur Kasse | Drucken
 
Ihr Warenkorb ist leer

DIN 912 Zylinderschrauben, mit Innensechskant

DIN 912 Zylinderschrauben, mit Innensechskant
 
Artikel-Nr. 2524-079
Werkstoff STAHL 8.8 - verzinkt
Norm DIN 912
Abmessung M 6 x 25

DIN 7504 Bohrschrauben N mit Linsenkopf, Blechschraubengewinde PZ-Kreuzschlitz

DIN 7504 Bohrschrauben N mit Linsenkopf, Blechschraubengewinde PZ-Kreuzschlitz
 
Artikel-Nr. 4259-019
Werkstoff ROSTFREI A2
Norm DIN 7504NZ
Abmessung N 5,5 x 80 Z

DIN 561 Form A Sechskantschrauben mit Rille, Zapfen, kleinem 6-kant, Gewinde bis Kopf

DIN 561 Form A Sechskantschrauben mit Rille, Zapfen, kleinem 6-kant, Gewinde bis Kopf
 
Artikelgruppe 4482
Werkstoff STAHL 22 H - verzinkt
Norm DIN 561A
Abmessung AM10
Unsere App - jetzt online!
NEU im Sortiment: Zusätzlich über 15.000 neue Kleinmengen
Zertifizierung

Kundenbewertungen (2.300)
So entstehen unsere Kundenbewertungen

Unsere Kundenbewertungen einschließlich der Sternebewertungen können nur nach Bestellabschluss erstellt werden.

Dadurch ist sichergestellt, dass unser Bestellprozess, unser Service sowie unsere Produkte von echten Kunden bewertet werden, die ihre Erfahrungen mit ihnen teilen möchten.


"Alles gut, bis auf die Mindestmengen bei einigen Produkten. Eine Mindestmenge von 100 Stück veranlasst mich, diesen Artikel woanders zu besorgen. Eine Mindestmenge von 10 Stück finde ich besser."
-

"Bin zufrieden, hat immer aller geklappt -:) "
-

"Ich habe bis heute noch nichts zu Beanstanden."
- Richard Fiedler jun.

"Weiter so . . ."
-

"Insgesamt sehr zufrieden. Hutmuttern M6 hohe Form aus Aluminium vermisse ich noch. Schönen Tag noch."
-

Unsere Cookie-Richtlinien

Wir nutzen Cookies, um unsere Seite für Sie bestmöglich zu gestalten und dauerhaft zu verbessern. Weitere Informationen erhalten Sie in unserer Datenschutzerklärung. Ohne Ihre Zustimmung werden nur technisch notwendige Cookies verwendet.
AKZEPTIEREN
ABLEHNEN