DIN 562 Vierkantmuttern niedrige Form, Produktklasse C

DIN 562 Vierkantmuttern niedrige Form sind besonders niedrige, viereckige Muttern mit Innengewinde. Vierkantmuttern wurden früher häufiger eingesetzt als heute. Heutzutage werden stattdessen Sechskantmuttern mit Außensechskant eingesetzt, weil es für diese passende Ring- Gabelschlüssel gibt, die weltweit verbreitet sind. Bei Vierkantmuttern ist stattdessen ein Vierkantschlüssel erforderlich, der nicht zur Grundausstattung jeder Werkstatt gehört. Seitdem fristet die Vierkantmutter ein Nischendasein. mehr ...


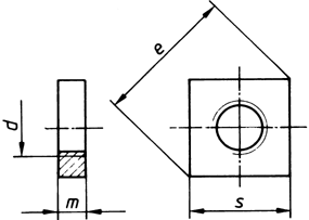
Technische Maße für DIN 562 Vierkantmuttern niedrige Form, Produktklasse C

Legende:
Maße (d)
= Durchmesser für metrisches Maß (M) (Nennmaß)
m
= Höhe-Gesamt
s
= Schlüsselweite
e min.
= Eckenmaß

Maße (d) M 1,6 M 2 M 2,5 M 3 M 4 M 5 M 6 M 8 M 10
s 3,2 4 5 5,5 7 8 10 13 17
e min. 4 5 6,3 7 8,9 10,2 12,7 16,5 21,5
m 1 1,2 1,6 1,8 2,2 2,7 3,2 4 5

weitere Informationen

 

Verwendung von DIN 562 Vierkantmuttern niedrige Form

Vierkantmuttern werden heute vor allem in der Elektrotechnik oder im IT-Bereich als Einlegemutter verwendet. Einlegemuttern werden in ein Gehäuseprofil oder ein Gehäuse eingeschoben, um das Bauteil damit zu befestigen. Manchmal werden Vierkantmuttern auch in Aluprofilen eingelegt, um Bauteile zu sichern. Die niedrige Form wird besonders dann verwendet, wenn wenig Platz zur Verfügung steht.

 

Arten und Werkstoffe bei DIN 562 Vierkantmuttern niedrige Form

Wir bieten die Vierkantmuttern in DIN 562 als niedrige, flache Form oder in der normalen Bauhöhe als DIN 557 an. Bei den Werkstoffen dominieren blanke oder galvanisch verzinkte Stähle oder Edelstahl Rostfrei A2 und A4.

Alle Angaben ohne Gewähr, Gewährleistung oder Haftung.


Version 3.24.2 - Servername: WEBAPP11


 
 Warenkorb
Zur Kasse | Drucken
 
Ihr Warenkorb ist leer

DIN 912 Zylinderschrauben, mit Innensechskant

DIN 912 Zylinderschrauben, mit Innensechskant
 
Artikel-Nr. 2524-022
Werkstoff STAHL 8.8 - verzinkt
Norm DIN 912
Abmessung M 4 x 16

Art. Senkkopf -Spanplattenschrauben Fräsrippen, Schneidkerbe, Innensechsrund (TX)

Art. Senkkopf -Spanplattenschrauben Fräsrippen, Schneidkerbe, Innensechsrund (TX)
 
Artikel-Nr. 4291-024
Werkstoff ROSTFREI A2
Norm Art. 81928
Abmessung 4,5 x 50 TX

Art. Sechskantmuttern, h=d

Art. Sechskantmuttern, h=d
 
Werkstoff alle
Norm Art. 81926
Abmessung M5
Unsere App - jetzt online!
NEU im Sortiment: Zusätzlich über 15.000 neue Kleinmengen
Zertifizierung

Kundenbewertungen (2.152)
So entstehen unsere Kundenbewertungen

Unsere Kundenbewertungen einschließlich der Sternebewertungen können nur nach Bestellabschluss erstellt werden.

Dadurch ist sichergestellt, dass unser Bestellprozess, unser Service sowie unsere Produkte von echten Kunden bewertet werden, die ihre Erfahrungen mit ihnen teilen möchten.


"Gehört zu den Standardshops auf meiner Online-Einkaufsliste! Hier finde ich schnell, was ich suche!"
- Hans-Karl Becker

"ch bestelle hier schon seit Jahren und wurde noch nie enttäuscht. Die Qualität der Produkte ist durchweg hervorragend, der Versand zuverlässig und der Kundenservice freundlich und kompetent. Ein Shop, dem ich voll und ganz vertraue!"
-

"Weiter so !"
-

"Vor vielen Jahren habe ich das erste Mal bei Ihnen bestellt und war sehr zufrieden. Jetzt habe ich - endlich - ein Kundenkonto angelegt."
- Jürgen Schmidt

"Insgesamt sehr zufrieden. Hutmuttern M6 hohe Form aus Aluminium vermisse ich noch. Schönen Tag noch."
-

Unsere Cookie-Richtlinien

Wir nutzen Cookies, um unsere Seite für Sie bestmöglich zu gestalten und dauerhaft zu verbessern. Weitere Informationen erhalten Sie in unserer Datenschutzerklärung. Ohne Ihre Zustimmung werden nur technisch notwendige Cookies verwendet.
AKZEPTIEREN
ABLEHNEN