DIN 603 Flachrundschrauben mit Vierkantansatz (ISO 8677) mit Mutter

DIN 603 Flachrundschrauben mit Vierkantansatz haben ihren Namen zum einem vom metrischen Regelgewinde (M) (= Gewindeschraube), zum Anderen von der flachen und oben abgerundeten Kopfform. Unter der DIN 603 werden Flachrundschrauben mit Vierkantansatz geführt. Dieser Schraubentyp ist landläufig auch als Schlossschraube oder Torbandschraube bekannt. Der spezielle Aufbau der Flachrundschrauben nach DIN 603 macht die Produkte hervorragend für den Bau von Carports, Gartentoren, Zäunen oder Sichtschutzwänden geeignet. Die Oberseite der Flachrundschrauben nach DIN 603 besteht aus einer leicht nach außen gewölbten, abgerundeten Fläche. Diese Geometrie sorgt dafür, dass sich der Schraubenkopf in verbautem Zustand flach auflegt und nicht übersteht. Das sieht nicht nur optisch ansprechend aus, sondern verringert auch die Verletzungsgefahr. Direkt unter dem Schraubenkopf ist ein Vierkantprofil angesetzt. Mit dem dazu passenden Gegenpart im Werkstück wird die Flachrundschraube nach DIN 603 einfach, aber höchst zuverlässig gegen Verdrehen bei der Montage gesichert. Der untere Teil der Flachrundschraube nach DIN 603 besteht aus einem Gewinde, was je nach Ausführung als metrisches Teil- oder Vollgewinde ausgeführt ist. Zur Befestigung der Schraube dient eine Mutter, die auf das Gewinde aufgeschraubt wird. mehr ...


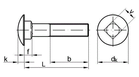
Technische Maße für DIN 603 Flachrundschrauben mit Vierkantansatz (ISO 8677) mit Mutter

Legende:
Maße
= Durchmesser metrisches Gewinde (M) (Nennmaß)
dk
= Durchmesser-Kopf
k
= Höhe-Kopf
b nach Wahl des Herstellers
= Länge-Gewinde
f
= Höhe-Kopfansatz
L
= Länge-Gesamt
v
= Seitenlänge-Vierkantansatz

Maße M 5 M 6 M 8 M 10 M 12 M 16 M 20
dk 13,5 16,55 20,65 24,65 30,65 38,8 46,8
k 3,3 3,88 4,88 5,38 6,95 8,95 11,05
f 4,1 4,6 5,6 6,6 8,75 12,9 15,9
v 5,48 6,48 8,58 10,58 12,7 16,7 20,84

weitere Informationen

 

Vorteil von DIN 603 Flachrundschrauben

Der Vorteil dieser Schrauben ist der flache runde Kopf, der das Verletzungsrisiko deutlich reduziert. Deshalb findet man sie immer dort, wo Menschen sind, z. B. auf Kinderspielplätzen, Gartenlauben oder zugänglichen Holzkonstruktionen.

 

Werkstoffe und Unterschied Flachrundschrauben mit oder ohne Mutter

Flachrundschrauben DIN 603 werden, abhängig vom Werkstoff, mit oder ohne Muttern geliefert. Der Werkstoff Stahl 4.6 blank oder verzinkt wird immer mit jeweils einer Sechskantmutter ausgeliefert. Die Werkstoffe Messing, Stahl 8.8 verzinkt und Edelstahl werden ohne Mutter geliefert. Edelstahl Rostfrei A2 eignet sich für den Außenbereich, da es bei kurzzeitigem Kontakt mit Wasser oder bei Kontakt mit Luft nicht rostet. Edelstahl Rostfrei A4 hingegen ist hochsäurebeständig und verträgt auch Salzwasser und Küstenluft.

 

Passendes Zubehör für Flachrundschrauben DIN 603

Für DIN 603 empfehlen wir Ihnen Holzscheiben DIN 440 mit Vierkantloch. Hier kann der Vierkanteinsatz einrasten und die Schraube gegen Verdrehen sichern. Außerdem können große Holzscheiben das Einsinken des Schraubenkopfes in das Holz verhindern.

 

Wann verwendet man Gewindeschrauben mit Flachrundkopf?

Im Holzbau werden DIN 603 Flachrundschrauben mit Vierkantansatz verwendet. Im Maschinenbau Becherschrauben mit Schlitz. Vorteil beider Formen ist die geringe Höhe, die zur Montage benötigt wird. Außerdem wird durch die flache Kopfform die Gefahr von Verletzungen durch den Schraubenkopf reduziert.

Alle Angaben ohne Gewähr, Gewährleistung oder Haftung.


Version 3.24.4 - Servername: WEBAPP12


 
 Warenkorb
Zur Kasse | Drucken
 
Ihr Warenkorb ist leer

DIN 125 Unterlegscheiben Form A Stahl Klasse 140 HV

DIN 125 Unterlegscheiben Form A Stahl Klasse 140 HV
 
Artikel-Nr. 1490-208
Werkstoff STAHL - verzinkt
Norm DIN 125A
Abmessung A 4,3 f. M 4

Art. Senkkopf -Spanplattenschrauben Fräsrippen, Schneidkerbe, Innensechsrund (TX)

Art. Senkkopf -Spanplattenschrauben Fräsrippen, Schneidkerbe, Innensechsrund (TX)
 
Artikel-Nr. 4291-121
Werkstoff ROSTFREI A2
Norm Art. 81928
Abmessung 10 x 140 TX
Hier finden Sie das zuletzt angesehene Produkt
Unsere App - jetzt online!
Die Wegertseder-App: Lagernde Artikel sofort im Blick durch Verfügbarkeits-Info
Zertifizierung

Kundenbewertungen (2.295)
So entstehen unsere Kundenbewertungen

Unsere Kundenbewertungen einschließlich der Sternebewertungen können nur nach Bestellabschluss erstellt werden.

Dadurch ist sichergestellt, dass unser Bestellprozess, unser Service sowie unsere Produkte von echten Kunden bewertet werden, die ihre Erfahrungen mit ihnen teilen möchten.


"Weiter so."
-

"Ich bin immer wieder bestens bedient! Danke"
- Erik Fischer

"Einfacher Bestellprozess wenn man mal herausgefunden hat, wie man wieder auf die Startseite mit der Produktübersicht zurückkommt... Hier wäre ein dauerhafter Link in der Navigationsspalte links hilfreich."
-

"weitermachen so."
- Richard Michl

"Ihr seid prima! Die schnelle Lieferung spart Lagerkosten. Auch die Maßübersichten sind prima! Grade bei Normteilen ist es schön, so einen verläßlichen Lieferanten zu haben - eine Sorge weniger! "
-

Unsere Cookie-Richtlinien

Wir nutzen Cookies, um unsere Seite für Sie bestmöglich zu gestalten und dauerhaft zu verbessern. Weitere Informationen erhalten Sie in unserer Datenschutzerklärung. Ohne Ihre Zustimmung werden nur technisch notwendige Cookies verwendet.
AKZEPTIEREN
ABLEHNEN