DIN 609 Sechskant-Passschrauben mit langem Gewindezapfen

DIN 609 Sechskant-Paßschrauben mit langem Gewindezapfen sind Gewindeschrauben mit metrischen Regelgewinde (M) und Außensechskant-Kopf. Der gewindelose Schaft von Sechskant-Paß-Schrauben hat eine besonders genaue Passung. Diese werden im Maschinen- und Anlagenbau eingesetzt ist sind relativ teuer. Dafür unterliegen Paß-Schrauben einer genau definierten Toleranz. Sie besitzen keinen Antrieb im Kopf, hier ist der Kopf selbst der Antrieb der Schraube. Sie wird mit einem Ring- oder Gabelschlüssel bewegt. DIN 609 hat einen besonders langen Gewindezapfen. mehr ...


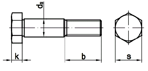
Technische Maße für DIN 609 Sechskant-Passschrauben mit langem Gewindezapfen

Legende:
Maße
= Durchmesser metrisches Gewinde (M) (Nennmaß)
k
= Höhe-Kopf
s
= Antrieb-Schlüsselweite
b1 (l < 50 mm)
= Länge-Gewinde
b2 (l < 150 mm)
= Länge-Gewinde
b3 (l > 150 mm)
= Länge-Gewinde
ds (Tol. k6)
= Durchmesser-Schaft

Maße M8 M10 M12 M14 M16 M20 M24 M30
k 5.3 6.4 7.5 8.8 10 12.5 15 19
s 13 16 18 21 24 30 36 46
ds (Tol. k6) 9 11 13 15 17 21 25 32
b1 (l < 50 mm) 14.5 17.5 20.5 22 25 28.5 - -
b2 (l < 150 mm) 16.5 19.5 22.5 24 27 30.5 36.5 43
b3 (l > 150 mm) 21.5 24.5 27.5 29 32 35.5 41.5 48

weitere Informationen

 

Lieferbare Werkstoffe von DIN 609

Dieses Produkt bieten wir nur in Stahl 8.8 blank an.

 

Vorteile von Sechskantschrauben

Anders als bei Schrauben mit Schlitz oder Kreuzschlitz können Außensechskantschrauben auch eingesetzt werden, wenn der Schraubenkopf von oben nicht mehr erreichbar ist. Außerdem eignen sich Sechskantschrauben durch die relativ geringe Kopfhöhe, wenn Platzmangel herrscht.

Alle Angaben ohne Gewähr, Gewährleistung oder Haftung.


Version 3.24.2 - Servername: WEBAPP11


 
 Warenkorb
Zur Kasse | Drucken
 
Ihr Warenkorb ist leer

DIN 125 Unterlegscheiben Form A Stahl Klasse 140 HV

DIN 125 Unterlegscheiben Form A Stahl Klasse 140 HV
 
Artikel-Nr. 1490-218
Werkstoff STAHL - verzinkt
Norm DIN 125A
Abmessung A 10,5 f. M 10

ISO 14581 Senkschrauben mit Innensechsrund (TX)

ISO 14581 Senkschrauben mit Innensechsrund (TX)
 
Artikel-Nr. 4669-066
Werkstoff ROSTFREI A4
Norm ISO 14581
Abmessung M 4 x 65 TX

FISCHER Injektionsmörtel FIS EM S

FISCHER Injektionsmörtel FIS EM S
 
Artikel-Nr. 5736-270
Werkstoff MÖRTEL
Norm Art. 84701
Abmessung FIS EM S 390 ml
Unsere App - jetzt online!
Die Wegertseder-App: Immer und überall bequem bestellen
Zertifizierung

Kundenbewertungen (2.152)
So entstehen unsere Kundenbewertungen

Unsere Kundenbewertungen einschließlich der Sternebewertungen können nur nach Bestellabschluss erstellt werden.

Dadurch ist sichergestellt, dass unser Bestellprozess, unser Service sowie unsere Produkte von echten Kunden bewertet werden, die ihre Erfahrungen mit ihnen teilen möchten.


"Ich kaufe nun schon sehr lange bei Schrauben Wegertseder ein. Die Lieferung war immer sehr schnell und die Ware war wie beschrieben in hervorragender Qualität."
- Hartmund Lawrenz

"Hallo, für unseren kleinen Betrieb ist soweit alles in Ordnung. Wir sind sicher kein großer, aber ein langjähriger Kunde. Bitte weiter so. Thomas H. "
-

"Weiter so !"
-

"macht so weiter"
-

"Klasse WebShop! Kurz war ich verunsichert, wie ich die Menge anzugeben habe: Nach Paket oder tatsächliche Stückzahl. Aber da kommt man schnell dahinter. Wie gesagt - KLASSE!"
- Eberhard Stollsteimer

Unsere Cookie-Richtlinien

Wir nutzen Cookies, um unsere Seite für Sie bestmöglich zu gestalten und dauerhaft zu verbessern. Weitere Informationen erhalten Sie in unserer Datenschutzerklärung. Ohne Ihre Zustimmung werden nur technisch notwendige Cookies verwendet.
AKZEPTIEREN
ABLEHNEN