DIN 6799 Sicherungsscheiben für Wellen

DIN 6799 Sicherungsscheiben für Wellen sind meist gestanzte Sicherungsmittel, die auf Wellen aufgesteckt werden. Sie eignen sich für kleinere Durchmesser bis ca. 38 mm. Die DIN 6799 Sicherungsscheiben für Wellen hat im Innendurchmesser (Nenndurchmesser) drei Bereiche, wo sie am Nietgrund aufliegt und die Welle so sichert. Zur Montage werden sie einfach auf die Nut der Welle gesteckt. Eine Zange ist zur Verarbeitung nicht nötig, weshalb sie auch nicht, anders als DIN 471, über zwei Zangenlöcher verfügen. Zum Lösen der Verbindung wird ein Schraubendreher verwendet und die Sicherungsscheibe aus der Nut gehebelt. mehr ...


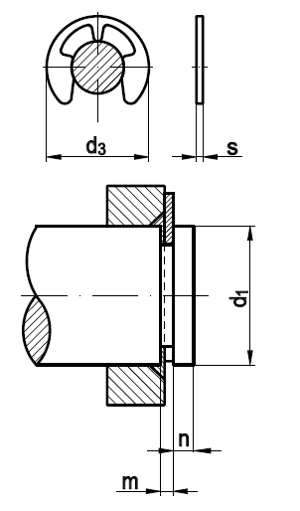
Technische Maße für DIN 6799 Sicherungsscheiben für Wellen

Legende:
Maße
= Durchmesser-Innen (Nennmaß)
s
= Stärke (Blech)
d3
= Durchmesser-Außen
für Wellen (d1)
= Durchmesser-Welle (Nennmaß)
m
= Nutbreite der Welle
n
= Bundbreite der Welle

Maße 0,8 1,2 1,5 1,9 2,3 3,2 4 5 6 7 8 9 10 12 15 19
d3 2,25 3,25 4,25 4,8 6,3 7,3 9,3 11,3 12,3 14,3 16,3 18,3 20,4 23,4 29,4 37,6
s 0,2 0,3 0,4 0,5 0,6 0,6 0,7 0,7 0,7 0,9 1 1,1 1,2 1,3 1,5 1,75
für Wellen (d1) 1 - 1,4 1,4 - 2 2 - 2,5 2,5 - 3 3 - 4 4 - 5 5 - 7 6 - 8 7 - 9 8 - 11 9 - 12 10 - 14 11 - 15 13 - 18 16 - 24 20 - 31
m 0,24 0,34 0,44 0,54 0,64 0,64 0,74 0,74 0,74 0,94 1,05 1,15 1,25 1,35 1,55 1,80
n 0,4 0,6 0,8 1 1 1 1,2 1,2 1,2 1,5 1,8 2 2 2,5 3 3,5

weitere Informationen

 

Lieferbare Werkstoffe für DIN 6799 Sicherungsscheiben für Wellen

Dieses Produkt liefern in blankem, elastischen Federstahl,  in Stahl verzinkt oder in Rostfreiem Edelstahl 1.4301.

Alle Angaben ohne Gewähr, Gewährleistung oder Haftung.


Version 3.24.4 - Servername: WEBAPP11


 
 Warenkorb
Zur Kasse | Drucken
 
Ihr Warenkorb ist leer

DIN 125 Unterlegscheiben Form A Stahl Klasse 140 HV

DIN 125 Unterlegscheiben Form A Stahl Klasse 140 HV
 
Artikel-Nr. 1490-210
Werkstoff STAHL - verzinkt
Norm DIN 125A
Abmessung A 5,3 f. M 5

DIN 7504 Bohrschrauben P mit Senkkopf, Blechschraubengewinde PZ-Kreuzschlitz

DIN 7504 Bohrschrauben P mit Senkkopf, Blechschraubengewinde PZ-Kreuzschlitz
 
Artikel-Nr. 4265-010
Werkstoff ROSTFREI A2
Norm DIN 7504Z
Abmessung P 4,8 x 60 Z

DIN 440 Scheiben für Holzkonstruktionen, R=Rundloch

DIN 440 Scheiben für Holzkonstruktionen, R=Rundloch
 
Artikel-Nr. 1578-440
Werkstoff STAHL - feuerverzinkt
Norm DIN 440R
Abmessung R 22 f. M 20
Unsere App - jetzt online!
NEU im Sortiment: Wir haben unser Dübelsortiment erweitert
Zertifizierung

Kundenbewertungen (2.295)
So entstehen unsere Kundenbewertungen

Unsere Kundenbewertungen einschließlich der Sternebewertungen können nur nach Bestellabschluss erstellt werden.

Dadurch ist sichergestellt, dass unser Bestellprozess, unser Service sowie unsere Produkte von echten Kunden bewertet werden, die ihre Erfahrungen mit ihnen teilen möchten.


"besten Dank, weiter so: :)"
- Jürgen Lingen

"Besten Dank"
- Jürgen Lingen

"War schon Kunde mit anderer Firma bei Ihnen, von daher ist mir Fa. Wegertseder ein Begriff für Schrauben unterschiedlichster Art."
-

"Bin absolut zufrieden, Danke, dass Sie auch relative Kleinaufträge für Privatkäufer ermöglichen.BesteGrüße,SOH"
- Sven-Oliver Henkel

"Sehr guter Kundenservice "
-

Unsere Cookie-Richtlinien

Wir nutzen Cookies, um unsere Seite für Sie bestmöglich zu gestalten und dauerhaft zu verbessern. Weitere Informationen erhalten Sie in unserer Datenschutzerklärung. Ohne Ihre Zustimmung werden nur technisch notwendige Cookies verwendet.
AKZEPTIEREN
ABLEHNEN