DIN 74361 Flachbundmuttern Form B

DIN 74361 Flachbundmuttern Form B sind hohe Sechskantmuttern mit einer am unteren Ende angebrachten vergrößerten Auflagefläche. Dadurch entsteht besserer Kontakt zwischen der Mutter und der Oberfläche, was einen besseren Halt zur Folge hat. Außerdem werden durch die größere Fläche Beschädigungen oder Abdrücke der Mutter auf weichen Metallen oder Kunststoffen vermieden. mehr ...


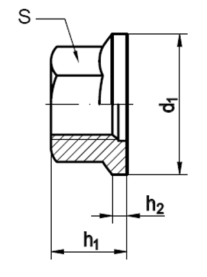
Technische Maße für DIN 74361 Flachbundmuttern Form B

Legende:
Maße
= Durchmesser für metrisches Maß (M) (Nennmaß)
h1
= Höhe-Gesamt
h2
= Höhe-Antrieb
d1
= Durchmesser-Ansatz unten
Antrieb-SW
= Schlüsselweite

Maße M 14x1,5 M 18x1,5 M 20x1,5 M 22x1,5
Kennzahl 14 18 20 22
d1 27 29 34 36
h1 15 18 20 22
h2 3 4 5 6
Antrieb-SW 19 24 27 30

weitere Informationen

 

Wo verwendet man Flachbundmuttern?

Flachbundmuttern werden dort verwendet, wo ein besonders sicherer Halt notwendig ist, z. B. bei Radbolzen, bei Auspuffaufhängungen oder Adapterblechen.

Alle Angaben ohne Gewähr, Gewährleistung oder Haftung.


Version 3.24.2 - Servername: WEBAPP11


 
 Warenkorb
Zur Kasse | Drucken
 
Ihr Warenkorb ist leer

DIN 125 Unterlegscheiben Form A Stahl Klasse 140 HV

DIN 125 Unterlegscheiben Form A Stahl Klasse 140 HV
 
Artikel-Nr. 1490-220
Werkstoff STAHL - verzinkt
Norm DIN 125A
Abmessung A 13 f. M 12

Art. Senkkopf -Spanplattenschrauben Fräsrippen, Schneidkerbe, Innensechsrund (TX)

Art. Senkkopf -Spanplattenschrauben Fräsrippen, Schneidkerbe, Innensechsrund (TX)
 
Artikel-Nr. 4291-051
Werkstoff ROSTFREI A2
Norm Art. 81928
Abmessung 6 x 60 TX

DIN 934 Sechskantmuttern UNC

DIN 934 Sechskantmuttern UNC
 
Artikel-Nr. 4797-102
Werkstoff STAHL 10
Norm DIN 934
Abmessung UNC 5/16
Unsere App - jetzt online!
NEU im Sortiment: Zusätzlich über 15.000 neue Kleinmengen
Zertifizierung

Kundenbewertungen (2.152)
So entstehen unsere Kundenbewertungen

Unsere Kundenbewertungen einschließlich der Sternebewertungen können nur nach Bestellabschluss erstellt werden.

Dadurch ist sichergestellt, dass unser Bestellprozess, unser Service sowie unsere Produkte von echten Kunden bewertet werden, die ihre Erfahrungen mit ihnen teilen möchten.


"ich sags immer wieder NICHTS ändern! Ihr seid TOP!! Euer Versand ist der absolute OBERHAMMER * * * * *"
- Uwe Krippner

"TOP weiter so * * * * *"
- Uwe Krippner

"Bin sehr zufrieden. Habe Euch auch schon weiterempfohlen."
-

"Wegertseder = Klasse Sortiment, übersichtlich, preiswert."
-

"Meine erste Adresse!"
- Heiner Schnorrenberg

Unsere Cookie-Richtlinien

Wir nutzen Cookies, um unsere Seite für Sie bestmöglich zu gestalten und dauerhaft zu verbessern. Weitere Informationen erhalten Sie in unserer Datenschutzerklärung. Ohne Ihre Zustimmung werden nur technisch notwendige Cookies verwendet.
AKZEPTIEREN
ABLEHNEN