DIN 7604 Verschlussschrauben Bund mit Außen-SK, A=kurzer Einschraubzapfen, leichte Ausführung, zylindrisches FEIN

DIN 7604 Verschlußschrauben, Bund mit Außensechskant, A= kurzer Einschraubzapfen, leichte Ausführung, zylindrisches FEIN-Gewinde sind eine Sonderform der Schrauben, die auf der einen Seite einen Kopf mit Antrieb und auf der anderen Seite ein Gewinde haben. Eingesetzt werden sie z. B. als Ölablassschrauben bei Motoren, zur Schmierung oder Dichtung von Löchern an Bauteilen. Sie haben ein zylindrisches FEIN-Gewinde und einen besonders kurzen Einschraubzapfen. Die DIN 910 hat einen normalen Einschraubzapfen. mehr ...


Technische Maße für DIN 7604 Verschlussschrauben Bund mit Außen-SK, A=kurzer Einschraubzapfen, leichte Ausführung, zylindrisches FEIN

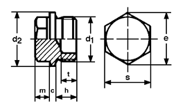
Legende:
Maße (d1)
= Durchmesser metrisches Gewinde (M) (Nennmaß)
m
= Höhe-Kopf
s
= Antrieb-Schlüsselweite
t
= Länge-Gewinde
c
= Höhe-Bund/Flansch/Telleransatz
d2
= Durchmesser-Flansch/Bund
e
= Eckenmaß
h
= Länge-Gewinde mit Auslauf

Maße (d1) M8x1 M10x1 M12x1,5 M14x1,5 M16x1,5 M18x1,5 M22x1,5 M26x1,5 M30x,15
c 0,5 0,5 0,5 0,5 0,5 2 2 2,5 2,5
d2 12 14 17 19 21 23 27 31 36
s 12 14 17 19 22 17 19 22 22
t - - - - - 8 8 8/10 8/10
h kurz (Form A) - 6 9 9 9 9 9 9 9
h lang (Form C) 8 8 - - - - - 12 12
m 4 4 6 6 6 6 6 8 8

weitere Informationen

 

Kopfform und Antrieb

Diese Verschlußschrauben haben einen Außensechskant. Dieser hat einen geringen Platzbedarf und kann auch in engen Bauteilen jederzeit seitlich oder von oben über einen Ring- Gabelschlüssel oder einer Stecknuss angezogen werden. Außerdem ist er klein und wenig hoch. Der Bund vergrößert die Auflagefläche und sorgt für eine bessere Abdeckung des Bohrlochs oder einer höheren Kraftübertragung.

Alle Angaben ohne Gewähr, Gewährleistung oder Haftung.


Version 3.24.2 - Servername: WEBAPP11


 
 Warenkorb
Zur Kasse | Drucken
 
Ihr Warenkorb ist leer

DIN 125 Unterlegscheiben Form A Stahl Klasse 140 HV

DIN 125 Unterlegscheiben Form A Stahl Klasse 140 HV
 
Artikel-Nr. 1490-204
Werkstoff STAHL - verzinkt
Norm DIN 125A
Abmessung A 3,2 f. M 3

Art. Senkkopf -Spanplattenschrauben Fräsrippen, Schneidkerbe, Innensechsrund (TX)

Art. Senkkopf -Spanplattenschrauben Fräsrippen, Schneidkerbe, Innensechsrund (TX)
 
Artikel-Nr. 4291-006
Werkstoff ROSTFREI A2
Norm Art. 81928
Abmessung 3,5 x 50 TX

MKT Ankerstangen V-A für Glaspatronen V-P

MKT Ankerstangen V-A für Glaspatronen V-P
 
Werkstoff alle
Norm Art. 81612
Abmessung M20
Unsere App - jetzt online!
NEU im Sortiment: Zusätzlich über 15.000 neue Kleinmengen
Zertifizierung

Kundenbewertungen (2.156)
So entstehen unsere Kundenbewertungen

Unsere Kundenbewertungen einschließlich der Sternebewertungen können nur nach Bestellabschluss erstellt werden.

Dadurch ist sichergestellt, dass unser Bestellprozess, unser Service sowie unsere Produkte von echten Kunden bewertet werden, die ihre Erfahrungen mit ihnen teilen möchten.


"Wie immer schnell und gut, bitte weitermachen so"
-

"ja, alle beim THW finden den Shop toll ;-)"
-

"Wie immer TOP! Weiter so :-) MFG "
-

"Sehr freundliche und kompetente Unterstützung"
-

"Bin zufrieden, hat immer aller geklappt -:) "
-

Unsere Cookie-Richtlinien

Wir nutzen Cookies, um unsere Seite für Sie bestmöglich zu gestalten und dauerhaft zu verbessern. Weitere Informationen erhalten Sie in unserer Datenschutzerklärung. Ohne Ihre Zustimmung werden nur technisch notwendige Cookies verwendet.
AKZEPTIEREN
ABLEHNEN