DIN 84 Zylinderschrauben mit Schlitz
ähnlich ISO 1207 Zylinderschrauben mit Schlitz: keine gravierenden Änderungen

haben ein metrisches Regelgewinde (M), deshalb der Name Gewindeschrauben, und einen Zylinderkopf. Der Zylinderkopf ist oben nicht abgeflacht sondern durchgehend wie ein Zylinder geformt, was ihn vom Flachkopf unterscheidet. Diese Form der Gewindeschrauben ist schon sehr alt, was man an der zweistelligen DIN-Norm (DIN 84) erkennt. Heutzutage werden Schlitzschrauben nur noch selten, meist in historischen Anwendungen oder wenn die Schlitzform explizit gewünscht ist, verwendet. Neuere Antriebe wie Kreuzschlitze oder Innensechsrund (TX)® werden von den meisten Kunden in der Verarbeitung als angenehmer empfunden - so kann man dort z. B. nicht so leicht abrutschen wie am Schlitz. mehr ...


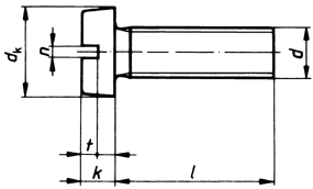
Technische Maße für DIN 84 Zylinderschrauben mit Schlitz

Legende:
Maße (d)
= Durchmesser metrisches Gewinde (M) (Nennmaß)
dk
= Durchmesser-Kopf
k
= Höhe-Kopf
t
= Tiefe-Antrieb min.
t max.
= Tiefe-Antrieb max.
n
= Antrieb-Schlitz-Breite

Maße (d) M1 M1,2 M1,4 M1,6 M1,7 M2 M2,3 M2,5 M2,6 M3 M3,5 M4 M5 M6 M8 M10 M12
k 0,7 0,8 0,9 1 1,1 1,3 1,5 1,6 1,7 2 2,4 2,6 3,3 3,9 5 6 6
dk 2 2,3 2,6 3 3,2 3,8 4,4 4,5 5 5,5 6 7 8,5 10 13 16 22
t 0,25 0,3 0,4 0,45 0,55 0,6 0,7 0,7 0,8 0,9 1 1,2 1,5 1,8 2,1 2,4 2,4
t max. 0,3 0,5 0,6 0,7 0,9 0,8 0,9 0,9 1 1,15 1,2 1,5 1,8 2,2 2,6 3 3
n 0,25 0,3 0,3 0,4 0,4 0,5 0,6 0,6 0,6 0,8 1 1 1,2 1,6 2 2,5 3

weitere Informationen

 

Lieferbare Werkstoffe für DIN 84 Zylinderschrauben mit Schlitz

Dieses Produkt liefern wir in vielen Werkstoffen. Darunter Messing, Kunststoff Polyamid natur, Stahl 4.8 blank - gelb verzinkt - vernickelt aber auch hochfestem Stahl 5.8 oder 8.8 verzinkt. Ebenfalls liefern wir DIN 84 Zylinderschrauben mit Schlitz in Edelstahl. Edelstahl Rostfrei A2 eignet sich für Anwendungen im Außenbereich aber ohne dauerhaften Kontakt mit Wasser. Edelstahl Rostfrei A4 verträgt Dauerkontakt mit Wasser, Salzwasser oder bestimmten Säuren.

Alle Angaben ohne Gewähr, Gewährleistung oder Haftung.


Version 3.24.4 - Servername: WEBAPP12


 
 Warenkorb
Zur Kasse | Drucken
 
Ihr Warenkorb ist leer

DIN 912 Zylinderschrauben, mit Innensechskant

DIN 912 Zylinderschrauben, mit Innensechskant
 
Artikel-Nr. 2534-326
Werkstoff ROSTFREI A2
Norm DIN 912
Abmessung M 4 x 20

ISO 7380 Flachkopfschrauben mit Innensechsrund (TX)

ISO 7380 Flachkopfschrauben mit Innensechsrund (TX)
 
Artikel-Nr. 4251-006
Werkstoff ROSTFREI A4
Norm ISO 7380TX
Abmessung M 2 x 5 TX
Hier finden Sie das zuletzt angesehene Produkt
Unsere App - jetzt online!
NEU im Sortiment: Zusätzlich über 15.000 neue Kleinmengen
Zertifizierung

Kundenbewertungen (2.295)
So entstehen unsere Kundenbewertungen

Unsere Kundenbewertungen einschließlich der Sternebewertungen können nur nach Bestellabschluss erstellt werden.

Dadurch ist sichergestellt, dass unser Bestellprozess, unser Service sowie unsere Produkte von echten Kunden bewertet werden, die ihre Erfahrungen mit ihnen teilen möchten.


"Gehört zu den Standardshops auf meiner Online-Einkaufsliste! Hier finde ich schnell, was ich suche!"
- Hans-Karl Becker

"ch bestelle hier schon seit Jahren und wurde noch nie enttäuscht. Die Qualität der Produkte ist durchweg hervorragend, der Versand zuverlässig und der Kundenservice freundlich und kompetent. Ein Shop, dem ich voll und ganz vertraue!"
-

"Passt alles, was angeboten wird wird auch geliefert und das sehr schnell. Sehr gute Qualität"
- Klaus Lauber

"Alles toll, da ich das erste Mal bei Euch bestelle, kann ich zu der Lieferzeit und Verpackung nichts sagen. Ein entspanntes Wochenende und ich hoffe, das GLS morgen anliefert... ;-)"
- Michael Diekmann

"Sie haben sich zur ersten Adresse für Schrauben entwickelt! Wir danken Ihnen. Gruß David Fuchs"
-

Unsere Cookie-Richtlinien

Wir nutzen Cookies, um unsere Seite für Sie bestmöglich zu gestalten und dauerhaft zu verbessern. Weitere Informationen erhalten Sie in unserer Datenschutzerklärung. Ohne Ihre Zustimmung werden nur technisch notwendige Cookies verwendet.
AKZEPTIEREN
ABLEHNEN