DIN 906 Verschlussschrauben mit Innensechskant, kegeliges Rohrgewinde R (nach DIN 3858)

DIN 906 Verschlußschrauben mit Innensechskant, kegeliges Rohrgewinde R sind eine Sonderform der Schrauben, die auf der einen Seite einen Kopf mit Antrieb und auf der anderen Seite ein Gewinde haben. Eingesetzt werden sie z. B. als Ölablassschrauben bei Motoren, zur Schmierung oder Dichtung von Löchern an Bauteilen. Sie haben ein kegeliges Rohrgewinde (R), welches nach DIN 3858 hergestellt ist. Rohrgewinde eignet sich für die Verschraubung von Rohren (z. B. Öl, Gas, Wasser, Pressluft) und wird meist im Bereich Sanitär-, Heizungs-, oder Klimatechnik eingesetzt. mehr ...


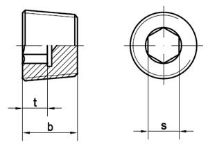
Technische Maße für DIN 906 Verschlussschrauben mit Innensechskant, kegeliges Rohrgewinde R (nach DIN 3858)

Legende:
Maße
= Durchmesser metrisches Gewinde (M) (Nennmaß)
s
= Antrieb-Schlüsselweite
t min
= Antrieb-Tiefe
b
= Länge-Gesamt

MaßeM 8M 10M 12M 14M 16M 18M 20M 22M 24M 26M 27M 30M 33M 36
s4567881010121212171719
t min44555555666667,5
b88101010101010121212121215
MaßeM 38M 42R 1/8R 1/4R 3/8R 1/2R 3/4R 1R 1 1/4R 1 1/2R 1 3/4R 2  
s192257810121722243232  
t min7,511,545556611,511,51313  
b15188101010121218202222  

weitere Informationen

 

Kopfform und Antrieb

Diese Verschlussschrauben haben einen Innensechskant. Dieser muss von oben zugängig sein und wird mit einem T-Griff-Schraubendreher oder einem Winkelstiftschlüssel verarbeitet. Die Bauform der DIN 906 Verschlußschrauben mit Innensechskant, kegeliges FEIN-Gewinde ist sehr klein.

Alle Angaben ohne Gewähr, Gewährleistung oder Haftung.


Version 3.24.2 - Servername: WEBAPP11


 
 Warenkorb
Zur Kasse | Drucken
 
Ihr Warenkorb ist leer

DIN 934 Sechskantmuttern

DIN 934 Sechskantmuttern
 
Artikel-Nr. 2888-010
Werkstoff STAHL 8 - verzinkt
Norm DIN 934
Abmessung M 4

Art. Senkkopf -Spanplattenschrauben Fräsrippen, Schneidkerbe, Innensechsrund (TX)

Art. Senkkopf -Spanplattenschrauben Fräsrippen, Schneidkerbe, Innensechsrund (TX)
 
Artikel-Nr. 4287-077
Werkstoff ROSTFREI A4
Norm Art. 81928
Abmessung 10 x 110 TX
Hier finden Sie das zuletzt angesehene Produkt
Unsere App - jetzt online!
Die Wegertseder-App: Lagernde Artikel sofort im Blick durch Verfügbarkeits-Info
Zertifizierung

Kundenbewertungen (2.156)
So entstehen unsere Kundenbewertungen

Unsere Kundenbewertungen einschließlich der Sternebewertungen können nur nach Bestellabschluss erstellt werden.

Dadurch ist sichergestellt, dass unser Bestellprozess, unser Service sowie unsere Produkte von echten Kunden bewertet werden, die ihre Erfahrungen mit ihnen teilen möchten.


"es gibt keine z.B. Abstandshülsen Sehr gut sind die DIN/ISO Pdfs der Materialdaten "
- Matthias Zander

"Weiter so."
-

"Alles gut, bitte weiter so!"
- Michael Klemm

"Ich kaufe seit einigen Jahren nur noch über Ihren Shop die benötigten Schrauben und Normteile, da eigentlich jede Größe zu finden ist und die Lieferung sehr zügig geht."
-

"Insgesamt sehr zufrieden. Hutmuttern M6 hohe Form aus Aluminium vermisse ich noch. Schönen Tag noch."
-

Unsere Cookie-Richtlinien

Wir nutzen Cookies, um unsere Seite für Sie bestmöglich zu gestalten und dauerhaft zu verbessern. Weitere Informationen erhalten Sie in unserer Datenschutzerklärung. Ohne Ihre Zustimmung werden nur technisch notwendige Cookies verwendet.
AKZEPTIEREN
ABLEHNEN