Ringschrauben, metrisches Gewinde

sind geformter Blechdraht mit einem hergestellten metrischen Regelgewinde auf der einen, und einem runden, geschlossenen Ösenkopf auf der anderen Seite. Sie werden verwendet, um Gegenstände zu befestigen. Sie können Schraubhaken mit metrischem Gewinde über eine Mutter, ggf. auch Sicherungsmutter, gegen Lösen sichern. Formschön ist die Verwendung von (Sicherungs-)Hutmuttern. mehr ...


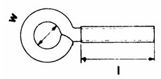
Technische Maße für Ringschrauben, metrisches Gewinde

Legende:
w
= Durchmesser-Innen Haken / Öse
Maße
= Durchmesser für metrisches Maß (M) (Nennmaß)
für metrisch (M)
= Durchmesser für metrisches Maß (M) (Nennmaß)
d
= Durchmesser/Drahtstärke
l
= Länge-Gesamt
l1
= Länge-Gewinde

MaßeM 3 x 10M 3 x 15M 3 x 20M 4 x 10M 4 x 15M 4 x 20M 4 x 25M 4 x 30M 4 x 40M 5 x 15M 5 x 20M 5 x 25M 5 x 30M 5 x 40
l11015201015202530401520253040
w55566666688888
l1116211116212632421621263242
d2,62,62,63,53,53,53,53,53,54,44,44,44,44,4
für metrisch (M)M 3M 3M 3M 4M 4M 4M 4M 4M 4M 5M 5M 5M 5M 5
MaßeM 5 x 50M 6 x 15M 6 x 20M 6 x 25M 6 x 30M 6 x 40M 6 x 50M 6 x 60M 6 x 80M 8 x 20M 8 x 25M 8 x 30M 8 x 40M 8 x 50
l15015202530405060802025304050
w810101010101010101212121212
l5216212632425262822126324252
d4,45,25,25,25,25,25,25,25,277777
für metrisch (M)M 5M 6M 6M 6M 6M 6M 6M 6M 6M 8M 8M 8M 8M 8
MaßeM 8 x 60M 8 x 80M 8 x 100M 8 x 150M 10 x 30M 10 x 40M 10 x 50M 10 x 60M 10 x 80M 10 x 100M 12 x 60M 12 x 100  
l16080100150304050608010060100  
w121212121414141414141818  
l6282102152324252628210262102  
d77778,98,98,98,98,98,910,610,6  
für metrisch (M)M 8M 8M 8M 8M 10M 10M 10M 10M 10M 10M 12M 12  

weitere Informationen

 

Unterschied Ringschrauben und DIN 580 Ringschrauben

Obwohl sie denselben Namen haben, sind die Ringschrauben DIN 580 wesentlich unterschiedlich zu diesen hier angebotenen Ringschrauben. DIN 580 hat einen deutlich dickeren, massiveren Ring und einen wesentlich kürzeren Gewindeteil.

 

Dimensionierung von Ringschrauben mit metrischem Gewinde

Sie sollten Schraubhaken richtig dimensionieren. Eine genaue Auskunft über die Tragfähigkeit ist nur bei genormten, bauaufsichtlich zugelassenen Haken möglich. Handelsübliche Schraubhaken sollten Sie mit gesundem Menschenverstand belasten. Es gilt der Grundsatz: mehr Tragkraft bei höherem Drahtdurchmesser. Für Schaukeln sollten Sie unbedingt unsere Schaukelhaken mit TÜV-Zulassung verwenden. Es dürfen nur unbedeutende Lasten in unkritischen Anwendungen gehoben werden

 

Ringschrauben mit Maschinengewinde liefern wir in Edelstahl Rostfrei A2, der rostbeständig ist, wenn er nicht dauerhaft Kontakt mit Wasser hat. An Luftsauerstoff rostet dieser Werkstoff nicht. Alternativ bieten wir dieses Produkt in Stahl verzinkt an.

Alle Angaben ohne Gewähr, Gewährleistung oder Haftung.


Version 3.24.4 - Servername: WEBAPP11


 
 Warenkorb
Zur Kasse | Drucken
 
Ihr Warenkorb ist leer

DIN 912 Zylinderschrauben, mit Innensechskant

DIN 912 Zylinderschrauben, mit Innensechskant
 
Artikel-Nr. 2534-318
Werkstoff ROSTFREI A2
Norm DIN 912
Abmessung M 4 x 12

DIN 7504 Bohrschrauben P mit Senkkopf, Blechschraubengewinde PH-Kreuzschlitz

DIN 7504 Bohrschrauben P mit Senkkopf, Blechschraubengewinde PH-Kreuzschlitz
 
Artikel-Nr. 4267-021
Werkstoff ROSTFREI A2
Norm DIN 7504P
Abmessung P 5,5 x 60 H

Kabelbinder, universal

Kabelbinder, universal
 
Artikel-Nr. 5003-004
Werkstoff KUNSTSTOFF - braun
Norm Art. 84776
Abmessung 4,8 x 200
Unsere App - jetzt online!
NEU im Sortiment: Zusätzlich über 15.000 neue Kleinmengen
Zertifizierung

Kundenbewertungen (2.295)
So entstehen unsere Kundenbewertungen

Unsere Kundenbewertungen einschließlich der Sternebewertungen können nur nach Bestellabschluss erstellt werden.

Dadurch ist sichergestellt, dass unser Bestellprozess, unser Service sowie unsere Produkte von echten Kunden bewertet werden, die ihre Erfahrungen mit ihnen teilen möchten.


"besten Dank, weiter so: :)"
- Jürgen Lingen

"Gerne wieder."
-

"Klasse...weiter so!!!!!!!"
-

"Ihr seid die Besten! So solle es sein, Germany statt China! DANKE!"
- Konrad Wagner

"Bin absolut zufrieden, Danke, dass Sie auch relative Kleinaufträge für Privatkäufer ermöglichen.BesteGrüße,SOH"
- Sven-Oliver Henkel

Unsere Cookie-Richtlinien

Wir nutzen Cookies, um unsere Seite für Sie bestmöglich zu gestalten und dauerhaft zu verbessern. Weitere Informationen erhalten Sie in unserer Datenschutzerklärung. Ohne Ihre Zustimmung werden nur technisch notwendige Cookies verwendet.
AKZEPTIEREN
ABLEHNEN